


商 品 詳 細 | |
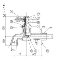
商品名 | 【横水栓十字ハンドル(鋳肌) JA-MV-K13-E】 蛇口 ガーデニング 庭まわり 屋外 水道 水廻り |
サイズ(mm) | ∅13(変換アダプター給水内径)D:80mm H:84mm |
備考 | ※掲載品以外の蛇口を選定する場合は給水栓ネジ寸法PJ1/2であることをご確認ください。 ※ホースを取付ける場合は、 ホースジョイントニップルとホースアダプターが必要です。 ※蛇口や配管内の水の凍結が予想される場合は、破損の恐れがあります。 地域、気候に応じた凍結防止対策を行って下さい。 ※寒冷地で使用される場合は寒冷地仕様を推奨致します。 ※商品の色は、工法や印刷により、写真とは多少異なる場合があります。 |
施工について | ※施工はお客様にて責任を持ってご手配ください。 ※施工には、専門的な知識と、工具、技術が必要となります。 ※お近くの施工業者様に設置を依頼して頂くようお願い致します。 ※お近くの施工業者様に相談の上、設置を依頼して頂くようお願い致します。 |

人気商品検索・カテゴリ別検索は
▼ こちらから ↓

| 可愛い・おしゃれな水栓柱を多数準備 1口・2口の立水栓セット、ガーデンパンも多数ございます |
| 【ユニソン】 スプレ・エイン・リーナ・サススタンド・フレウス・カーサ・ファミエンテ・フィーノ・ブライト・ネオキャスティ・ライアン ネオキャスティ・シャインポット・デミ/セレス・グランデパン・オルタポット・水凛・陶芸ポット・レクタポット 【オンリーワン クラブ エクステリア】 ジラーレ/ジラーレW・アクアルージュ/アクアルージュW・エポカ・いろえんぴつ・タイル張り・パイプロップ・アルミ立水栓・アルミ水栓柱・ドラーゴ・エッセンスガーデン・コルム・アクア・ウェーブ・陶器の立水栓・ステンレス水栓柱・プリズム・不凍水抜栓・不凍水栓柱 トレビ フィット・トレビ丸・スプリット・プラットパン・信楽焼ガーデンパン・プレーンパン・ステンレスボウル 【ニッコーエクステリア】 ラフウッド・モ エット・レトロブリック・ロココ・リベルタ2・ブリックタイプ・シャワープレイス・コロル・レヴウッド・シャワープレイスパン・レトロブリックパン・ リアルウッド・コーン・サークル・プラスター・ウッドクリート・ランバー・フォレット・シュペリ・モゼック・フォギー・かぐや・サナンド・シャルム・D-EN3・フラットパン・クレスパン・ステラパン・シンプルパン・水鉢 【TOSHIN】 UN ポッシュ・フルール・ジーニー・ティーラ・ログ・エーゲ・サガン・アーバン・ヴォーグ・タクト・コルム UNITE ログ・ピッコロステン・トレビ リビエラ・トレビ フラット・トレビ アーバン 【セキスイエクステリア】 雅・ガーデンタップ・ストロータップ・セカンドタップ・LBT・スマートタップ・ニューアクア・ファンクションシャワー・ヌーディ・スタイル 【TOYO】 ウォータビュー・クラッシー・ナルル・マルコ・アシェリー・コッタ・コボク・ブリックポール・コテージポール・ヴィンテージウッド・スリーパーキャスト・ステンパン・ホースリール 当店おすすめ水栓柱・ランキングをご紹介しております。 ランキングページから、お求めの水栓柱を検索する事ができます。 |