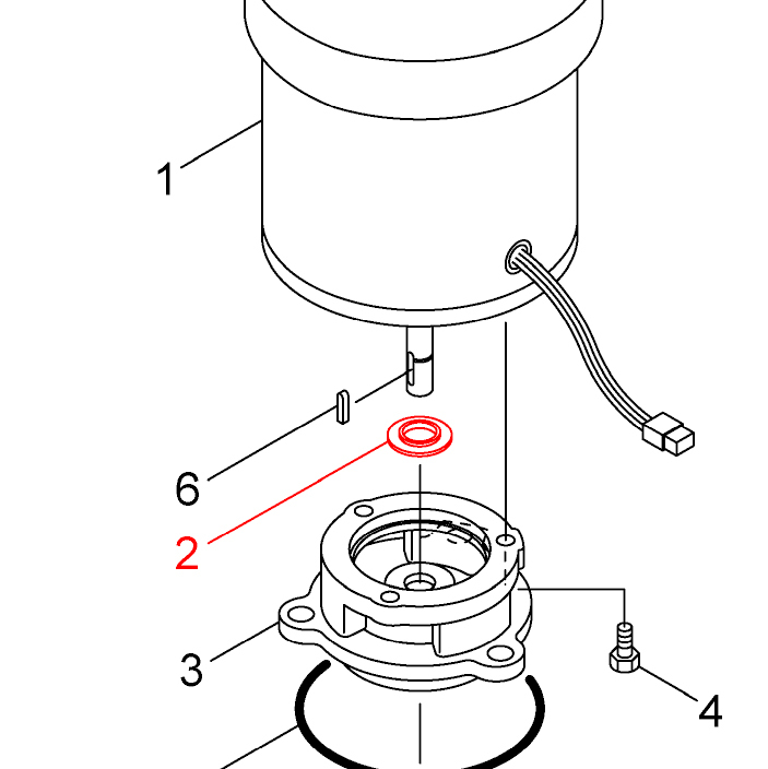
カワエースNR255S・NR256S 水切つばRC-13(2) 【16647520】
390
販売サイトへ移動
部品番号(2)
品番 16647520
N3,N2用ではありませんのでご注意ください
販売サイトへ移動