ロブテックス エビ シャコ万力スタンダード(B型) 75mm (1丁) 品番:B75V

エビ シャコ万力|特長:皿は外れた場合、取り付けが可能です。 軸頭部はレンチで締め付けられる六角形です。 強度等の品質は従来品(Bタイプ)と同等ながら、表面処理の変更によりプライスダウンを実現しました。
商品コード:ts-3616908

特長

  • 皿は外れた場合、取り付けが可能です。
  • 軸頭部はレンチで締め付けられる六角形です。
  • 強度等の品質は従来品(Bタイプ)と同等ながら、表面処理の変更によりプライスダウンを実現しました。
  • 精密な鍛造により、長期のご使用にも十分な鍛造強度です。
  • 高精度の角ネジでガタが少なく、開閉もスムーズです。

用途

  • 溶接作業に。

商品スペック

仕様・規格
● 最大口開き(mm):77
● アゴ深さ(mm):46
● オネジ六角対辺(mm):17
● 保証強度(kN):17.4
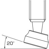
● 皿部角度(°):12
● タイプ:バーコ型
● ダークブルー焼付塗装
● バーコ型
材質/仕上
● 特殊鋼(本体:鍛造品)
※画像は代表画像です。色・仕様は型番により異なります。